如何从超深储层中安全高效地开采高温高压油气?
2023-10-23
关键字:
来源:[互联网]
向地球深部进军系列科普⑥:[中国石油新闻中心2023-10-20]
开发工作者经历了物探、钻井、测录试、储层改造等环节后,进入油气开发环节。这是上游开发阶段的最终一步,也是把深层超深层的油气变为人们所熟知、所用的化石能源的关键一步。这个阶段,开发工作者要深入研究后才能安全高效地开采出油气。
开采油气藏需要考虑以下几个方面:在哪里钻井、钻多少口井、产多少油气、开采多少年、收益如何等。如何制定科学高效的开发技术对策,从而尽可能地延长油气开发稳产期和最大程度地提高油气采收率,是油气开发工作者和油田生产面临的核心问题和追求的终极目标。
从深井超深井安全高效地开采高温高压油气的难点是什么?技术上取得了哪些突破?本期《“向地球深部进军”系列科普》,聚焦深层超深层油气勘探开发中的开采环节。
敬请关注。
通常,开发过程要经历三个阶段:前期评价、开发设计和开发调整。
深层油气藏极其复杂,很难一次性描述清楚地层的流体特征、储层特征以及流动规律。开发工作者依据已有的开发实践经验,总结客观开发规律,再用以指导后期的开发实践,从而实现这类油气藏开发水平的螺旋式上升。
在实践和认识的每一个阶段,开发工作者都要抓住开发的主要矛盾和矛盾的主要方面。三个阶段要解决的问题以及相互衔接对于深层油气藏开发尤其重要,每一阶段必须为下一阶段打好基础,否则带来的后果是不可挽回的,会造成巨大的损失。
前期评价“望闻问切”
前期评价是开发工作者利用最初阶段在地面上能够获取的数据信息,来初步感知、描绘、计算地下油气藏的形态、特征,类似医学上的“望闻问切”。
前期评价是认识深层油气藏的基本特征、明确合适的开发技术对策、减少开发不确定性和风险的必要手段。针对深层复杂情况,必须坚持试采和先导试验,试采是开发前期评价阶段获取动态资料、准确认识气藏开发特征、确定开发规模的关键环节;先导试验是评价开发主体工艺技术、论证开发技术与经济可行性、指导开发方案设计和大面积开发的关键环节。通过较长时间、较大规模的动态资料录取分析,动静态结合落实构造特征、缝洞连通模式、动用储量的规模、油气井的稳产能力、水体的活跃程度等,不断深化地质认识和开发规律,提高实际开发指标与方案设计指标吻合程度。
开发设计“辨证施治”
深层气藏地质条件复杂,即使是同一区带相邻的两个区块,地质油藏特征也可能差别很大,因此,在实际开发中要认真总结分析。对地下油气藏有了相对准确的了解后,就需要“辨证施治”,即根据前期总结出来的具体地质油藏特征来设计合理的技术措施。
合理的开发技术措施能在经济的条件下实现气藏的高效开发,取得经济效益最大化和资源利用最大化;不合理的开发技术政策也许在短期效果显著,但长期来看会造成资金、资源的大量浪费,经济和社会效益低下。对于地层水活跃、天然裂缝发育的深层气藏,开发工作者总结出了“沿轴线高部位集中布井、适度改造疏通天然裂缝”的技术对策,通过在裂缝发育、远离边底水的轴线部位集中布井,有效规避了构造偏移风险和水侵风险。对于深层碳酸盐油藏,总结出了以“断裂缝洞体为中心,多井型组合一井多靶、多工艺手段增产、构建空间结构井网”的体积开发模式,提升高效井比例,实现了此类油藏近年来原油产量的快速规模建产。大漠“黑金”奔腾而出,埋深7500米至1万米的塔里木富满油田成为我国在7500米以深建成的规模最大、开发效益最好的油田。
开发调整“对症下药”
开发调整是在油气田投产出现“病症”后,所作出的应对之策,就需要开发工作者“对症下药”。
开发过程中气井提前见水、产量递减快是深层油气藏开发复杂性的突出难点。基质、裂缝不同尺度储层介质的耦合使得气水流动更加复杂,水侵物理模拟实验和开发实践均表明,边底水会沿断裂、裂缝快速突进,侵入的地层水进而对基质中气体流动产生“密封”效应,影响到气井的稳产,降低气藏的最终采出程度。因此,深层裂缝性致密砂岩气藏开发调整以“防水、控水、排水”为主要技术对策,以提高采收率。深层缝洞碳酸盐油藏提高采收率一直是极具挑战性的课题,通常在动静态资料逐渐丰富、雕刻清楚缝洞结构之后,通过注水注气等方式采出更多油气,其作用机理包括替换洞顶阁楼油、置换底部原油、补充地层能量、压制水锥、降低原油黏度等,注入方式有单井吞吐和井组驱替两种方式。
直井+侧钻大斜度井缝洞体体积开发模式图
直井或大斜度井穿过多个缝洞体,依据缝洞形态、连通关系设计开发方式,尽可能动用、采出最多的油气。分支1宜衰竭+注气开发,分支2宜衰竭+注水开发,分支3宜衰竭+水气交替开发。
烃类流体
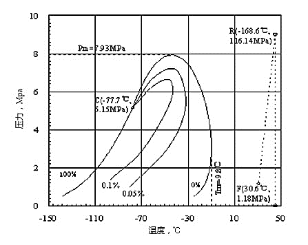
地下获取的烃类流体,可以得到其压力、温度、组成、黏度、密度以及随压力、温度变化的流体性质,来帮助开发工作者判断是哪种类型的油气藏,并有针对性地开发设计。
图为烃类流体P-T相图。
储层岩石获取地下岩芯,可以得到储集体孔隙度、渗透率、饱和度、矿物组成等参数,来帮助开发工作者分析油气在岩石中的储存和流动情况,支撑建立静态动态模型。
图为岩芯照片。
生产能力试井等生产动态数据,可以帮助开发工作者评估储集体类型、有效渗透率、井筒污染、产能、连通性、控制储量等,以便更准确认识、描绘油气藏。
图为试井曲线。
油气规划数值模拟研究,通过对静动态不确定参数的敏感性分析以及井型、井网、井位部署、开采速度等因素的模拟对比,开发工作者优选出技术经济指标最好的方案。
图为数值模拟饱和度场。
科普问答》》》问:与常规中浅层油气藏开发相比,国内深层开发面临哪些难点和挑战?
答:深层油气藏主要包括裂缝型低渗砂岩气藏、断控/缝洞型碳酸盐岩油藏,普遍的难点在于储层埋藏深、地震成像精度差、储层认识困难、气水关系复杂、强地应力变化等方面。一是精细描述难度大。深层储层由于地震波传播距离长,信号能量损耗大、高频成分衰减快,加之多数盆地具有多构造层叠合的特征,中、深层构造起伏较大,部分地区发育高陡地层,地层速度纵横向变化大,地震资料偏移成像误差大、成像精度低,难以准确落实构造并预测储层。由于构造落实不准,早期塔里木盆地克深气田的开发井成功率仅有50%。二是气藏渗流规律复杂。深层储层基质一般比较致密,但裂缝、溶洞发育,形成复杂的储集和渗流系统,具有很强的非均质性。深层气藏储层的强非均质性造成了复杂的气水分布,经常一井一藏,平面相邻井的开发规律相差极大。裂缝-孔隙型、裂缝-孔洞型、洞穴型等复杂的储层类型使得深层气藏的气水渗流规律十分复杂,常规的室内实验很难模拟这种复杂储层的渗流状态,地质模型和数值模拟也难以准确反映复杂的气水分布和运动规律。
问:与以往相比,近年来深层超深层油气藏开发方面取得了哪些技术进步?
答:虽然深层油气开发面临诸多挑战,通过近些年的开发实践与技术攻关,在储层预测、开发规律、开发方式等方面也取得了很多进展。开发工作者在实践中逐渐形成了一系列深层天然气开发技术,有效支撑了深层天然气产量跨越式增长。随着深层天然气开发对象向更深、更复杂气藏发展,开发任务由高效建产逐渐转向长期稳产,深层天然气开发技术也在不断发展和完善。开发优化是气藏开发阶段最核心的工作。经过十多年的攻关研究,初步形成了深层复杂气藏开发优化技术,包括裂缝性气藏产能评价预测技术、高压有水气藏动储量评价技术、多重介质储层试井评价技术、模拟地层条件复杂储层渗流实验技术、全直径三维数字岩芯分析及微观流动模拟分析技术、裂缝性水侵优势通道识别与预测技术、多尺度非结构化网格离散裂缝建模技术、巨量网格精细数值模拟技术等,有效指导了深层气藏的生产管理和开发调整。但是,由于深层气藏发育孔、洞、缝等多重介质,储层结构十分复杂,实验室的渗流实验难以准确表征宏观上的渗流规律,加上储层预测困难,难以建立准确的地质模型,多重介质之间的渗流也很难准确模拟,因此目前深层复杂气藏开发对策优化仍只能基于定性或半定量的模拟预测结果,难以做到真正的定量化。
深地故事》》》
对症“治水”?让气脉更“畅”
讲述人:朱松柏?单位:塔里木油田克拉采油气管理区油气藏地质研究所所长、党支部副书记
克深气田地表沟壑纵横、山体陡峭,地下构造复杂,123口超深气井就像“珍珠”散落在山峦沟谷中。我们每天都在围着天然气稳产上产转,研究分析水侵动态规律、全面摸底气田各气井“家底”、及时制定排水采气对策深挖单井潜力……这些工作是我们每日关注的重点,只为在下游百姓需要天然气的时候把产量提上去。
克深气田是我国第一个年产100亿立方米超深层碎屑岩天然气田,我国最深的克深9气藏、压力最高的克深13气藏都在这里。目前,气田天然气日产量稳定在3000万立方米以上,是西气东输的主力气田之一。然而,这里的气藏普遍埋藏在地下7000至8000米的超深层,最高地层压力超过138兆帕,因此,推动气田高效开发、持续稳产面临世界级难题。特别是近年来,部分主力气区提前见水、水侵加剧等问题凸显,导致气田产能递减加快,稳产形势不容乐观。
只有延缓水侵,才能最大程度地提高气田采收率。我们树立“今天排出的水就是明天的产量”开发理念,把排水放到和采气同等重要位置,经过大量调研,反复推演论证,摸清了气田的水侵规律,找准了气藏治水稳产的主攻方向,并提出了“战略防御、战略相持、战略反攻”三个阶段的整体治水思路。
直面即将到来的冬供“大考”,我们打出“控、排、治、防”治理水患“组合拳”,与水侵速度展开“赛跑”,把产量靠实到区块、细化到单井、落实到每天,逐井、逐藏、逐区域靠实产量,通过大规模、大范围治水攻坚战,不仅扭转了气田治水不见效的局面,还摆脱了治水信心不足的困境,保障了气田天然气资源在关键时刻拿得出、供得上、稳得住。
当前,克深24、克深8等气藏边部强排水工作已取得显著成效,克深气田日排水量由以往的800立方米提升至4550立方米。随着水侵治理的不断深入,后续克深9控水稳产、克深13整体治水等一批工程将稳步推进,推动天然气产量进一步提高。截至目前,克深气田12个气藏正“抱团”增气,投入开发建设以来,已累计生产天然气760亿立方米,相当于6000万吨油气当量。(王成凯?唐浩?采访整理)
自主创新?打通“堵点”
讲述人:黄耀?单位:西南油气田公司川西北气矿开发管理部副主任
四川盆地是个古老的大型叠合盆地,超深层碳酸盐岩气藏中普遍含有H_2S气体,其天然气水合物形成温度较高。在天然气开采和管输过程中,井筒、站内设备及管线在气流速度变化较大、气流温度较低时易发生冰堵。一旦有天然气水合物形成,轻则使气流通道变小,重则将导致管道或设备堵塞,严重制约高压含硫气井的开发,影响安全生产。
2016年以来,川西北深层海相部分气井相继出现井筒堵塞现象,对气井产量造成不同程度的影响。龙004-X1井位于川北革命老区苍溪县,是四川盆地九龙山气田主力气井,关井最高压力达108兆帕,曾创造当时国内投产压力最高纪录。2017年9月初,这口井近井口附近井筒出现水合物堵塞。因超高压含硫井井控要求高、施工难度大,多次加注乙二醇解堵效果不佳,又因气温下降导致井筒“栓塞”段持续扩大,被迫关井停产达5个月之久。
西南油气田公司气田开发管理部组织川西北气矿、天然气研究院、工程技术研究院和川庆钻探公司川西钻探等单位实施解堵攻关,经4次方案论证,最终优选施工成本低、安全系数高的自主研发的自发热化学解堵方案。各单位密切配合,细化施工流程,采用自主设计的140兆帕抗硫投注装置,优化药剂配比,反复投注自发热化学解堵剂,成功消融井下长达百米的水合物冰堵段。2018年初,经过连续7天解堵作业,“休克”逾150天的超高压气井龙004-X1井成功“复活”,日产量约13万立方米。这是西南油气田首次采用化学解堵法成功实施超高压含硫气井井筒水合物解堵作业。(刘永柯?杜浪?采访整理)
本版文字除署名文章外,由勘探开发研究院李保柱、焦玉卫、唐海发、韦东洋提供
本版图片除署名外,均由焦玉卫提供
